
MIL-DTL-62180F(AT)
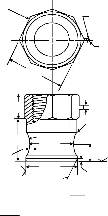
OPTIONAL NUMBER
OF SIDES
0.188 DIA. HOLE, (BOSS & HOLE
MAY BE REVOLVED 90° AND
LOCATED ON ANY CORNER
OR FLAT)
0.19 MIN
4.7
03
MI
N
1.00
0.17
MIN
0.12 ± 0.02 R
2.07
R 0.500 ± .003
MIN
4.304 ± .002
0.892±.003
0.22 MIN WALL
125
THICKNESS
4.705 ± .002
125
+ 0.09
0.22
63
15°
- 0.02
FIGURE 1. Adapter.
NOTES:
1. Unless otherwise specified, dimensions are in inches.
2. Tolerances: Unless otherwise specified, decimals 2 places (±0.02), 3 places (±0.005);
degrees ±1/2.
9
For Parts Inquires call Parts Hangar, Inc (727) 493-0744
© Copyright 2015 Integrated Publishing, Inc.
A Service Disabled Veteran Owned Small Business