
MIL-PRF-62272C(AT)
common, automotive tools normally associated with equipment of this type. The adjustment of
components and accessories shall be accomplished with minimum disturbance to other
components of the semitrailer (see 4.7).
TABLE III. Dimensions.
Feature
Dimensions
Length of load space.
29 ft (884 cm)
Vehicle width (maximum).
96 in. (244 cm)
Platform height (maximum).
55 in. (140 cm)
Distance from front of semitrailer to vertical centerline
30 + 2 in. (76 + 5 cm)
of kingpin.
Upper fifth wheel height, (empty) from the underside of
49 + 1 in. (124.5 + 2.5 cm)
the upper fifth wheel plate.
Swing clearance (minimum) from the centerline of the
87 in. (223 cm)
kingpin to any portion of the semitrailer 6 in. (15 cm)
or more below upper fifth wheel plate.
Swing radius (minimum) from centerline of the kingpin
58 in. (147 cm)
to the most distance point on the semitrailer nose.
6'-6.75''
2'-7.5''
rad 94''
5.
5'-
10'- 4''
flat car
rail level
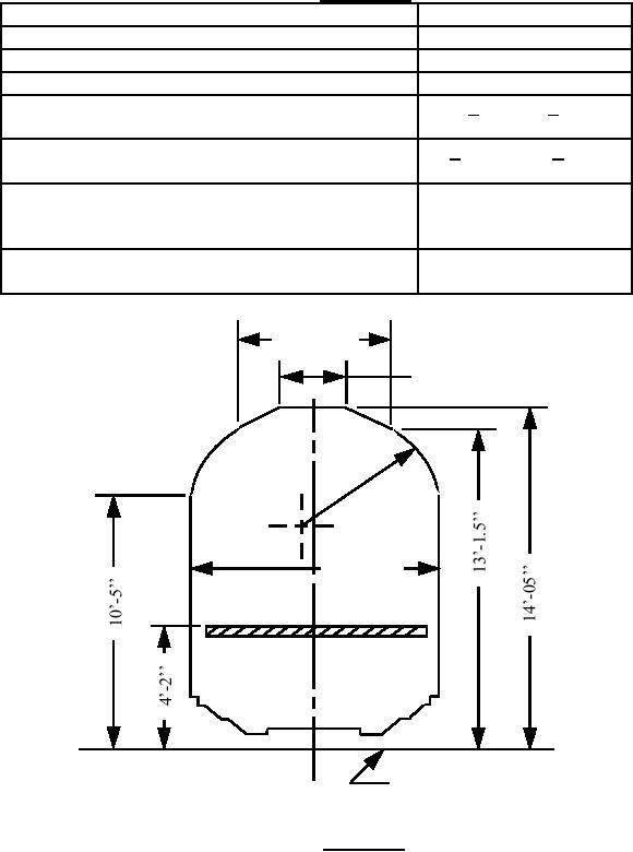
FIGURE 1. PPI gauge.
8
For Parts Inquires call Parts Hangar, Inc (727) 493-0744
© Copyright 2015 Integrated Publishing, Inc.
A Service Disabled Veteran Owned Small Business